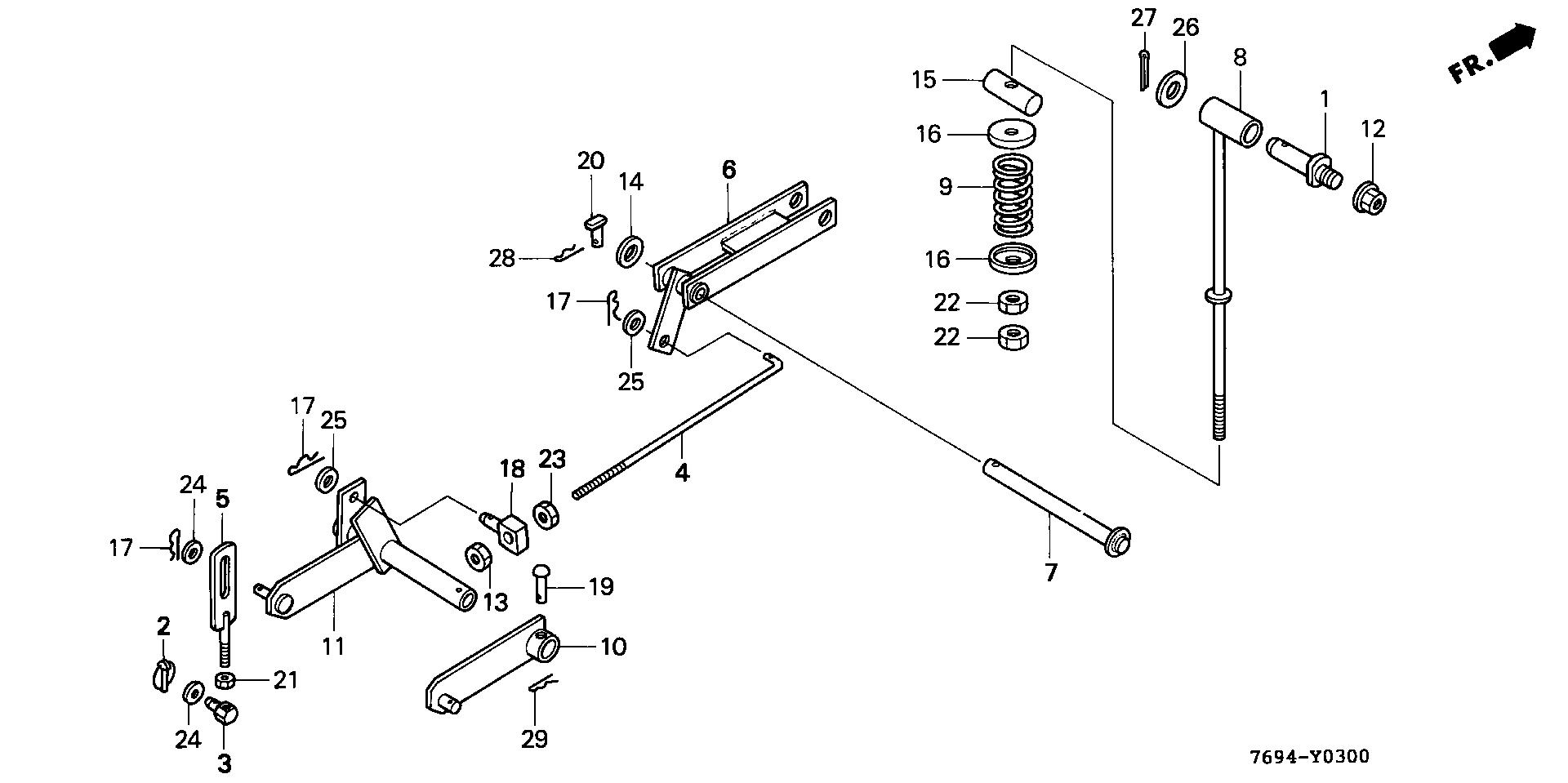
Ref No
Part Number
Description
Serial Range
Qty
Price
Ref No 1
Part Number 50914-752-J00
Description PIN, LIFT ARM
Serial Range 1000001 - 9999999
Ref No 2
Part Number 50990-769-M01
Description LINCHPIN ASSY.
Serial Range 1000001 - 9999999
Qty
Price $10.81
Add To Cart
Ref No 3
Part Number 76185-769-L00
Description PIN, FR. LINK ADJUSTING (NOT AVAILABLE)
Serial Range 1000001 - 9999999
Ref No 4
Part Number 76315-752-J00
Description ROD, CUTTER DECK LIFT (NOT AVAILABLE)
Serial Range 1000001 - 9999999
Ref No 5
Part Number 76317-752-J00
Description PLATE, CUTTER DECK LIFT (NOT AVAILABLE)
Serial Range 1000001 - 9999999
Ref No 6
Part Number 76320-752-J00
Description LINK, CUTTER DECK LIFT (NOT AVAILABLE)
Serial Range 1000001 - 9999999
Ref No 7
Part Number 76322-752-J00
Description SHAFT, LIFT LINK (NOT AVAILABLE)
Serial Range 1000001 - 9999999
Ref No 8
Part Number 76325-752-J00
Description ROD, LIFT LINK
Serial Range 1000001 - 9999999
Ref No 9
Part Number 76327-752-830
Description SPRING, LIFT DAMPER (NOT AVAILABLE)
Serial Range 1000001 - 9999999
Ref No 10
Part Number 76670-752-J00
Description ARM, R. LIFT
Serial Range 1000001 - 9999999
Qty
Price $116.19
Add To Cart
Ref No 11
Part Number 76680-752-J00
Description ARM, L. LIFT (NOT AVAILABLE)
Serial Range 1000001 - 9999999
Ref No 12
Part Number 90201-ZE3-790
Description NUT, SPECIAL (16MM)
Serial Range 1000001 - 9999999
Qty
Price $12.19
Add To Cart
Ref No 13
Part Number 90367-752-J00
Description NUT, SELF-LOCK (16MM)
Serial Range 1000001 - 9999999
Ref No 14
Part Number 90403-952-770
Description WASHER, PLAIN (22MM)
Serial Range 1000001 - 9999999
Qty
Price $3.17
Add To Cart
Ref No 15
Part Number 90474-752-830
Description PIN, DAMPER SPRING
Serial Range 1000001 - 9999999
Qty
Price $40.12
Add To Cart
Ref No 16
Part Number 90476-752-830
Description WASHER (16MM)
Serial Range 1000001 - 9999999
Qty
Price $10.15
Add To Cart
Ref No 17
Part Number 90702-752-831
Description PIN, LOCK (14MM)
Serial Range 1000001 - 9999999
Qty
Price $4.53
Add To Cart
Ref No 18
Part Number 90751-752-J00
Description PIN, LIFT ARM
Serial Range 1000001 - 9999999
Ref No 19
Part Number 90760-752-J00
Description PIN, LIFT ARM (10X51.5)
Serial Range 1000001 - 9999999
Ref No 20
Part Number 90770-752-J00
Description PIN, LINK SHAFT (8X28)
Serial Range 1000001 - 9999999
Ref No 21
Part Number 94001-12000-0S
Description NUT, HEX. (12MM)
Serial Range 1000001 - 9999999
Qty
Price $2.35
Add To Cart
Ref No 22
Part Number 94002-16080-0S
Description NUT, HEX. (16MM) (NOT AVAILABLE)
Serial Range 1000001 - 9999999
Ref No 23
Part Number 94030-16080
Description NUT, HEX. (16MM)
Serial Range 1000001 - 9999999
Qty
Price $2.31
Add To Cart
Ref No 24
Part Number 94101-14800
Description WASHER, PLAIN (14MM)
Serial Range 1000001 - 9999999
Qty
Price $1.67
Add To Cart
Ref No 25
Part Number 94101-16000
Description WASHER, FLAT (16MM) (NOT AVAILABLE)
Serial Range 1000001 - 9999999
Ref No 26
Part Number 94101-18000
Description WASHER, FLAT (18MM)
Serial Range 1000001 - 9999999
Ref No 27
Part Number 94201-30350
Description PIN, SPLIT (3.0X35)
Serial Range 1000001 - 9999999
Qty
Price $1.40
Add To Cart
Ref No 28
Part Number 94251-08000
Description PIN, LOCK (8MM)
Serial Range 1000001 - 9999999
Qty
Price $1.67
Add To Cart
Ref No 29
Part Number 94252-10100
Description PIN, LOCK (10MM) (NOT AVAILABLE)
Serial Range 1000001 - 9999999