Description BAR, GRASS CATCHER KIT (NOT AVAILABLE)
Serial Range 1000001 - 9999999
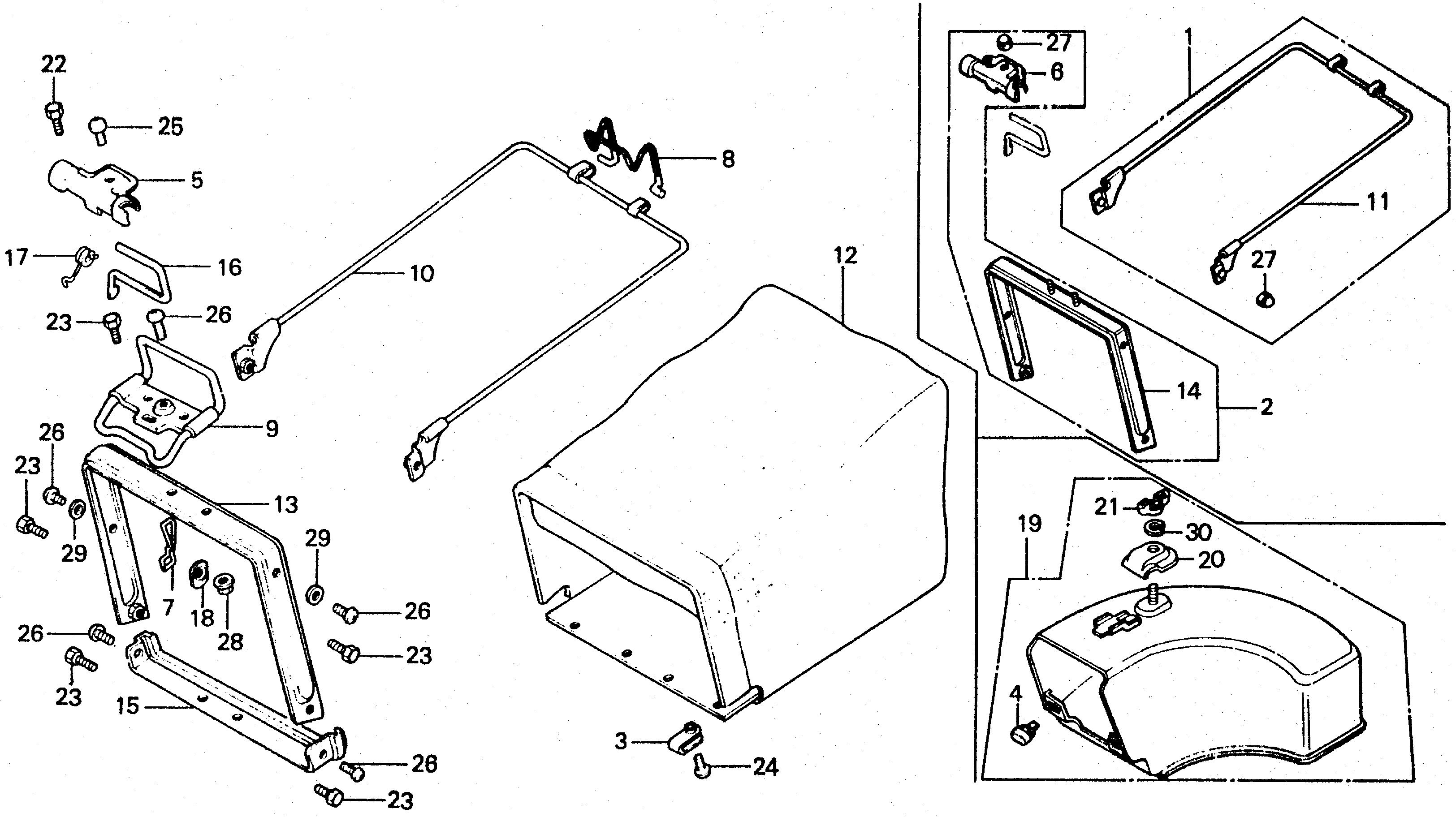
Ref No 2
Part Number 06812-952-305
Description FRAME KIT A, BAG
Serial Range 1000001 - 9999999
Ref No 2
Part Number 06812-952-305
Description FRAME KIT A, BAG
Serial Range 1000001 - 9999999
Ref No 3
Part Number 61194-579-000
Description NUT, CLIP (NOT AVAILABLE)
Serial Range 1000001 - 9999999
Ref No 4
Part Number 76122-952-000
Description STOPPER, DISCHARGE GUARD
Serial Range 1000001 - 9999999
Qty
Price $5.13
Ref No 5
Part Number 06812-952-305
Description FRAME KIT A, BAG
Serial Range 1000001 - 9999999
Ref No 5
Part Number 06812-952-305
Description FRAME KIT A, BAG
Serial Range 1000001 - 9999999
Ref No 6
Part Number 81152-960-000
Description PLATE, HINGE BAG (NOT AVAILABLE)
Serial Range 1000001 - 9999999
Ref No 7
Part Number 81153-952-000
Description HOOK, BAG SET (NOT AVAILABLE)
Serial Range 1000001 - 9999999
Ref No 8
Part Number 81154-952-000
Description GRIP, GRASS BAG
Serial Range 1000001 - 9999999
Qty
Price $28.93
Ref No 9
Part Number 81155-952-000
Description HANDLE, FR. GRASS BAG (NOT AVAILABLE)
Serial Range 1000001 - 9999999
Qty
Price $53.37
Ref No 10
Part Number 81156-952-000
Description BAR, GRASS BAG
Serial Range 1000001 - 9999999
Ref No 11
Part Number 81156-960-000
Description BAR, GRASS BAG (NOT AVAILABLE)
Serial Range 1000001 - 9999999
Ref No 12
Part Number P2750-485-91469
Description FABRIC, GRASS BAG
Serial Range 1000001 - 9999999
Qty
Price $68.29
Ref No 13
Part Number 81158-952-000
Description FRAME A, BAG (NOT AVAILABLE)
Serial Range 1000001 - 9999999
Ref No 14
Part Number 81158-960-000
Description FRAME A, BAG (NOT AVAILABLE)
Serial Range 1000001 - 9999999
Ref No 15
Part Number 81159-952-000
Description FRAME B, BAG
Serial Range 1000001 - 9999999
Qty
Price $31.19
Ref No 16
Part Number 81161-952-000
Description LEVER, LOCK BAG
Serial Range 1000001 - 9999999
Ref No 17
Part Number 81162-952-000
Description SPRING, LOCK LEVER RETURN
Serial Range 1000001 - 9999999
Qty
Price $5.33
Ref No 18
Part Number 81165-952-000
Description NUT, HOOK HOLDER (NOT AVAILABLE)
Serial Range 1000001 - 9999999
Ref No 19
Part Number 81210-952-010T
Description ADAPTER, DISCHARGE *NH2M* (METALLIC SILVER) (N/A: SEE COMPONENTS)
Serial Range 1000001 - 9999999
Ref No 20
Part Number 81211-952-300
Description PLATE, CLAMP (NA USE ALT:06814-VE2-000)
Serial Range 1000001 - 9999999
Ref No 21
Part Number 90325-044-000
Description NUT, TOOL BOX SETTING
Serial Range 1000001 - 9999999
Qty
Price $5.71
Ref No 24
Part Number 93500-05008-0A
Description SCREW, PAN (5X8)
Serial Range 1103767 - 9999999
Qty
Price $1.18
Ref No 25
Part Number 93500-06008
Description SCREW, PAN (6X8)
Serial Range 1000001 - 9999999
Ref No 25
Part Number 93500-06008-0A
Description SCREW, PAN (6X8)
Serial Range 1103767 - 9999999
Qty
Price $1.49
Ref No 25
Part Number 93500-06008-0H
Description SCREW, PAN (6X8)
Serial Range 1103767 - 9999999
Qty
Price $1.49
Ref No 26
Part Number 93500-06012-0A
Description SCREW, PAN (6X12)
Serial Range 1103767 - 9999999
Qty
Price $1.33
Ref No 27
Part Number 94021-06020
Description NUT, CAP (6MM)
Serial Range 1103767 - 9999999
Qty
Price $2.46
Ref No 28
Part Number 94050-06080
Description NUT, FLANGE (6MM)
Serial Range 1103767 - 9999999
Ref No 29
Part Number 94101-06800
Description WASHER, PLAIN (6MM)
Serial Range 1000001 - 9999999
Qty
Price $1.20
Ref No 30
Part Number 94111-06000
Description WASHER, SPRING (6MM)
Serial Range 1000001 - 9999999
Qty
Price $1.27
Item added to your cart
California Prop 65 Information
Internal Combustion Engine Products:
WARNING:
This product can expose you to chemicals including soots, tars, and mineral oils, which are known to the State of California to cause cancer,
and carbon monoxide, which is known to the State of California to cause birth defects or other reproductive harm. For more information go to
www.P65Warnings.ca.gov.
Miimo Robotic Mower
WARNING:
This product can expose you to chemicals including lead and lead compounds, which are known to the State of California to cause cancer and birth defects or other reproductive harm.
For more information go to
www.P65Warnings.ca.gov.